KARCHER DESIGN VERONA RAAMKRUK

https://besa-sloten.be/web/image/product.template/13377/image_1920?unique=fea75f0
42.25 EUR 42.25

51,12 € 51,12 €

42,25 € 42,25 € excl. BTW

Voorraad: 6.00 Stuks
Locatie(s): W/WD-B1.2

42,25 € Exclusief btw

PRIJS OP AANVRAAG

  • Merk
  • Kruknoot ⧄ (mm)
  • Materiaal
  • Categorie
  • Sluiting
  • Kleur
  • Vorm rozet

Deze combinatie bestaat niet.

Merk: KARCHER DESIGN
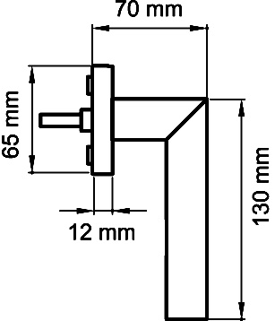
Kruknoot ⧄ (mm): ⧄ 7
Materiaal: Roestvrij staal / inox
Categorie: Raamkrukken
Sluiting: Niet afsluitbaar
Vorm rozet: Ovaal


Artikelnummer: EF374 71
Barcode: 4038847018847

BIJHORENDE MODELLEN